西玛电机分享交流电机的工作原理
内容简介:西安西玛交流电机依据电磁感应定律,将交流电能转换为机械能, 因结构简单、运行可靠、成本低、效率高等优点,在工业、交通运输、家用电器、航空航天等领域广泛应用。
西玛电机分享交流电机的工作原理。
交流电机是一种依据电磁感应定律,将交流电能转换为机械能的装置 ,在现代工业、交通运输、家用电器等众多领域广泛应用。西安西玛电机有限公司生产的交流电机主要分为异步电机(感应电机)和同步电机。

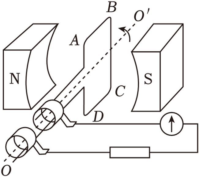
图为交流电机的工作原理示意图
当三相交流电流通入异步电机的定子绕组时,由于三相电流在时间上彼此相差 120° 电角度,且三相定子绕组在空间上也彼此相差 120° 电角度分布。
根据安培定律和电磁感应定律,三相电流会在定子铁芯中产生一个合成的旋转磁场。这个磁场的转速(同步转速n1)由电源频率f和电机的磁极对数p决定,计算公式为n1=60f/p 。例如,我国电网频率f=50HZ,若电机磁极对数p=1,则同步转速n1=3000r/min;若p=2,则n1=1500r/min 。
转子导体切割磁感线产生感应电动势和电流
旋转磁场以同步转速旋转时,转子导体与旋转磁场之间存在相对运动,相当于转子导体切割了磁感线。
根据电磁感应定律,转子导体中就会产生感应电动势。由于西玛电机转子绕组是闭合的,在感应电动势的作用下,转子导体中就会产生感应电流。
转子载流导体在磁场中受力产生电磁转矩
转子导体中有了感应电流后,根据安培力定律,载流导体在磁场中会受到力的作用。
这个力在转子上形成电磁转矩,驱使转子沿着旋转磁场的方向旋转。然而,异步电机的转子转n速始终小于同步转速n1,因为如果转子转速等于同步转速,转子导体与旋转磁场之间就不存在相对运动,也就不会产生感应电动势和电流,电磁转矩也就为零,所以称为 “异步” 电机 。转子转速与同步转速之间的差值称为转差s,转差与同步转速的比值称为转差率,即s=(n1-n)/n1 。
与异步电机类似,同步电机的定子绕组通入三相交流电后,也会在定子铁芯中产生一个旋转磁场,其同步转速n1=60f/p。
转子励磁产生恒定磁场
同步电机的转子上装有励磁绕组,通过直流励磁电流,使转子产生一个恒定的磁?。ㄓ?N 极和 S 极)。
转子与旋转磁场相互作用保持同步旋转
定子旋转磁场的磁极与转子励磁磁场的磁极之间存在相互吸引力,就像两块磁铁相互吸引一样。
定子旋转磁场以同步转速旋转时,会带动转子以相同的转速同步旋转,即转子转速n等于同步转速n1,这就是 “同步” 电机名称的由来。在运行过程中,只要电源频率f和电机磁极对数p不变,同步电机的转速就保持恒定。
西安西玛交流电机依据电磁感应定律,将交流电能转换为机械能, 因结构简单、运行可靠、成本低、效率高等优点,在工业、交通运输、家用电器、航空航天等领域广泛应用。
了解更多关于电机的知识,请关注西安西玛电机有限公司网站。公司专业技术团队为您免费提供电机的选型、安装、调试、保养等技术指导服务,尽量避免企业因为电机技术人员的短缺带来的损失,采取“线上+线下”服务的服务形式,帮助企业解决技术难题。
转载请说明来自西安泰富西玛电机(西安西玛电机集团股份有限公司)官方网站:http://m.qp8l.cn/zixun/dianjibaike765.html
交流电机是一种依据电磁感应定律,将交流电能转换为机械能的装置 ,在现代工业、交通运输、家用电器等众多领域广泛应用。西安西玛电机有限公司生产的交流电机主要分为异步电机(感应电机)和同步电机。

图为交流电机的工作原理示意图
西安西玛异步电机工作原理
定子产生旋转磁场当三相交流电流通入异步电机的定子绕组时,由于三相电流在时间上彼此相差 120° 电角度,且三相定子绕组在空间上也彼此相差 120° 电角度分布。
根据安培定律和电磁感应定律,三相电流会在定子铁芯中产生一个合成的旋转磁场。这个磁场的转速(同步转速n1)由电源频率f和电机的磁极对数p决定,计算公式为n1=60f/p 。例如,我国电网频率f=50HZ,若电机磁极对数p=1,则同步转速n1=3000r/min;若p=2,则n1=1500r/min 。
转子导体切割磁感线产生感应电动势和电流
旋转磁场以同步转速旋转时,转子导体与旋转磁场之间存在相对运动,相当于转子导体切割了磁感线。
根据电磁感应定律,转子导体中就会产生感应电动势。由于西玛电机转子绕组是闭合的,在感应电动势的作用下,转子导体中就会产生感应电流。
转子载流导体在磁场中受力产生电磁转矩
转子导体中有了感应电流后,根据安培力定律,载流导体在磁场中会受到力的作用。
这个力在转子上形成电磁转矩,驱使转子沿着旋转磁场的方向旋转。然而,异步电机的转子转n速始终小于同步转速n1,因为如果转子转速等于同步转速,转子导体与旋转磁场之间就不存在相对运动,也就不会产生感应电动势和电流,电磁转矩也就为零,所以称为 “异步” 电机 。转子转速与同步转速之间的差值称为转差s,转差与同步转速的比值称为转差率,即s=(n1-n)/n1 。
西安西玛同步电机工作原理
定子产生旋转磁场与异步电机类似,同步电机的定子绕组通入三相交流电后,也会在定子铁芯中产生一个旋转磁场,其同步转速n1=60f/p。
转子励磁产生恒定磁场
同步电机的转子上装有励磁绕组,通过直流励磁电流,使转子产生一个恒定的磁?。ㄓ?N 极和 S 极)。
转子与旋转磁场相互作用保持同步旋转
定子旋转磁场的磁极与转子励磁磁场的磁极之间存在相互吸引力,就像两块磁铁相互吸引一样。
定子旋转磁场以同步转速旋转时,会带动转子以相同的转速同步旋转,即转子转速n等于同步转速n1,这就是 “同步” 电机名称的由来。在运行过程中,只要电源频率f和电机磁极对数p不变,同步电机的转速就保持恒定。
西安西玛交流电机依据电磁感应定律,将交流电能转换为机械能, 因结构简单、运行可靠、成本低、效率高等优点,在工业、交通运输、家用电器、航空航天等领域广泛应用。
了解更多关于电机的知识,请关注西安西玛电机有限公司网站。公司专业技术团队为您免费提供电机的选型、安装、调试、保养等技术指导服务,尽量避免企业因为电机技术人员的短缺带来的损失,采取“线上+线下”服务的服务形式,帮助企业解决技术难题。
转载请说明来自西安泰富西玛电机(西安西玛电机集团股份有限公司)官方网站:http://m.qp8l.cn/zixun/dianjibaike765.html
以上内容由西安泰富西玛电机(西安西玛电机集团股份有限公司)网络编辑部收集整理发布,仅为传播更多电机行业相关资讯及电机相关知识,仅供网友、用户、及广大经销商参考之用,不代表西安泰富西玛电机同意或默认以上内容的正确性和有效性。读者根据本文内容所进行的任何商业行为,西安泰富西玛电机不承担任何连带责任。如果以上内容不实或侵犯了您的知识产权,请及时与我们联系,西安泰富西玛电机网络部将及时予以修正或删除相关信息。
- 上一篇: 如何选择适合破碎机的西玛电机
- 下一篇: 高压电机的性能受热腐蚀的影响吗?
他们还浏览了...
- 2025-8-11高压电机的性能受热腐蚀的影响吗?
- 2025-6-24高压电机线圈端部放电与防晕处理
- 2025-6-17三相异步电机安装的注意事项
- 2025-6-17三相异步电机的安装步骤详解
- 2025-5-28西安西玛电机630KW高压电机接线工艺深度解析
- 2025-1-10如何选择适合破碎机的西玛电机
- 2024-12-17西安西玛交流电机选型指南
- 2024-12-10西玛电机的一级能效与三级能效的简单对比
- 2024-12-3三相异步电动机转子电流方向的简单判断方法
- 2024-10-28高压电机直接启动的关键条件分析
行业资讯
高压电机节能改造在大型工厂能效提升的重大意义
高压电机的性能受热腐蚀的影响吗?
西安西玛高压电机检修都有啥项目呢?
高压电机线圈端部放电与防晕处理
三相异步电机安装的注意事项
三相异步电机的安装步骤详解
西安西玛电机630KW高压电机接线工艺深度解
西安西玛YKK高压电机高效节能背后的技术逻辑
高压电机的性能受热腐蚀的影响吗?
西安西玛高压电机检修都有啥项目呢?
高压电机线圈端部放电与防晕处理
三相异步电机安装的注意事项
三相异步电机的安装步骤详解
西安西玛电机630KW高压电机接线工艺深度解
西安西玛YKK高压电机高效节能背后的技术逻辑
防爆电机为什么推荐西玛电机这个品牌?
西安西玛电机在食品级输送机的创新与探索
浅谈西玛电机近年的变革之路
深入解析西安泰富西玛电机的卓越优势
西安西玛YE5高效电机深得用户信赖和认可!
电控学院与西安泰富西玛电机有限公司举行产学研
西安西玛电机与西北工业大学开展“双进”活动,
西玛YR355M3-8 YRW355M3-8
西安西玛电机在食品级输送机的创新与探索
浅谈西玛电机近年的变革之路
深入解析西安泰富西玛电机的卓越优势
西安西玛YE5高效电机深得用户信赖和认可!
电控学院与西安泰富西玛电机有限公司举行产学研
西安西玛电机与西北工业大学开展“双进”活动,
西玛YR355M3-8 YRW355M3-8
泰富西玛电机
配套电柜
电机配件
YKK系列高压三相异步电机西安泰富西玛YKK系列(H355-1000)高压三相异步电机可作驱动
Y2系列紧凑型高压异步电机西安泰富西玛?Y2系列(H355-560)6KV紧凑型高压异步电机可
YE3系列高效节能电机西安泰富西玛电机生产的YE3系列高效节能电机达到了国标二级能效标准,
Z4系列直流电机西安泰富西玛Z4系列直流电动机比Z2、Z3系列具有更大的优越性,它不
Z2系列小型直流电机西安泰富西玛Z2系列电机为一般工业用小型直流电机,其电动机适用于恒功
ZTP型铁路机车动车用直流辅助西安泰富西玛ZTP系列西玛电机应能满足铁路机车动车用直流辅助电机通用



西安西玛电机紧跟电机行业的发展趋势,了解电机市场动态,制定出西玛电机的发展规划,稳步前行。
随着国家节能减排的积极推行,新能源汽车产业快速增长及高效节能电机补贴政策的逐步落实,高效节能电机业将迎来爆发式的增长。
西玛电机售后维修业务有:轴料加工件、钢板切割、焊接件、高压机壳、冷却器、上下罩、高、低压交直流电机;国内、外电机的修理、维护和试验。
质量为本,用户至上”是我公司一贯宗旨。“诚心、贴心、倾心、西玛永远用心”的“三心”服务理念。
西安泰富西玛电机(西安西玛电机集团股份有限公司)是国内九大的电机供应商之一,产品包括各种高低压、交直流、高压同步电机等。













